今回は、フレキシブルコンテナ用内袋の「寸法の計算方法」についてご紹介します。
内袋は、厚さ × 幅 × 長さをフレキシブルコンテナの容量に合わせ設計します。
さらに、作業方法に合わせシール・カット・玉シール などの底部加工の方法を選択します。
そのため、フレキシブルコンテナ本体の寸法が分かれば、
内袋に必要なおおよその寸法 を算出することが出来ます。
内袋のシール・カット・玉シールについては下記の記事で詳しく紹介しています。
下記図面をご覧ください。
投入口:全開・排出口:なし のフレキシブルコンテナです。

内袋長さは、以下3つの合計で求めます。
1.投入口の高さ
2.本体の高さ
3.本体半径

上記図面の寸法の場合
1.投入口高さ:800㎜
2.本体高さ:1,100㎜
3.本体半径:550㎜ (1,100/2)
800+1,100+550=2,450㎜が内袋の長さになります。
なお、充填作業時の扱いやすさを考慮し、投入口部分から内袋が少し出るように、
算出した寸法よりもやや長めに設計するのが一般的です。
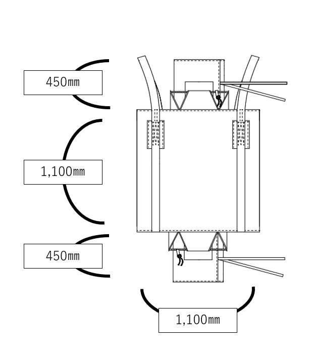
続いて、投入口が半開で排出口のある形状の場合です。

投入口が半開であり、排出口もあるため
投入口:全開・排出口:無なしのフレキシブルコンテナとは計算方法と異なります。
1.投入口高さ
2.本体高さ
3.排出口高さ
4.本体半径
5.本体半径
(上記図面の青線部分と赤線部分に該当)

上記図面の寸法の場合
まず、以下3つの合計を求めます。
1.投入口高さ:450㎜
2.本体高さ:1,100㎜
3.排出口高さ:450㎜
450+1,100+450=2,000㎜
次に以下2つの合計を求めます。
4.本体半径:550㎜ (1,100/2)
5.本体半径:550㎜ (1,100/2)
550+550=1,100㎜
最後に、先程計算した数値の合計を求めます。
2,000+1,100=3,100㎜
この寸法が内袋の基準の長さになります。
上記の計算方法により、内袋の大まかな基準寸法 を把握できます。
※実際のご使用用途で内袋の寸法は変動する場合があります。
ご不明点はお気軽に当社営業へご相談ください!
内袋の寸法は長さだけでなく、「幅」も必要な情報となります。
次回の記事では、内袋の「幅の計算方法」について詳しくご紹介します。



