前回はフレキシブルコンテナ用内袋の「寸法の計算方法」について御紹介しました。
フレキシブルコンテナ用内袋の「寸法の計算方法」についてpart➀
フレキシブルコンテナに使用する内袋の寸法は
「厚さ ・ 幅 ・長さ」をフレキシブルコンテナの仕様と内容物に合わせて設計します。
前回は内袋の長さの計算方法について説明しましたが、今回は幅の計算方法を紹介します。
幅の公式は下記の通りです。
丸型 直径×3.14÷2
角型 斜辺=√(等辺²+等辺²)
斜辺×3.14÷2
公式についてもう少し深堀して解説します。
幅は内袋をセットするフレキシブルコンテナの折り径を求める必要があります。
折り径とは、フレキシブルコンテナを平らに押しつぶした状態の長さを指します。

折り径は次の式で求められます。
直径×3.14÷2

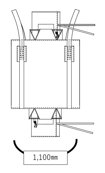
上の図面のような丸型、直径:1,100㎜のフレキシブルコンテナの場合、
計算はこのようになります。
1,100×3.14÷2
折り径は1,727㎜となります。
内袋のセットに必要な余裕を考慮し、約1,900㎜の幅 が適した寸法となります。
角型フレキシブルコンテナの場合(幅の求め方)
角型の場合は丸型とは異なり、折り径は三角形を利用して求めます。
下図のように、フレキシブルコンテナを上から見ると 直角三角形 ができます。
この直角三角形の斜辺(X)が折り径の元になる寸法です。

直角三角形の斜辺は、次の式のような三平方の定理で求めることができます。
斜辺=√(等辺²+等辺²)

実際に計算してみると
√(900²+900²)=約1,273
この 1,273mm が「直径」に相当します。
そのため折り径は、
1,273×3.14÷2 = 1,999mm
約2,000㎜が内袋の幅の目安になります。
内袋寸法について
前回の記事でご紹介した「長さ」、今回の「幅」の算出方法により、
使用するフレキシブルコンテナに対して 必要なおおよその内袋寸法 を把握することができます。
また、内袋の厚さは内容物によって選定しますが、
一般的には 0.05mm・0.07mm・0.1mm などが多く使用されています。
ご紹介した計算方法で内袋の大まかな基準寸法 を把握できます。
※実際のご使用用途で内袋の寸法は変動する場合があります。
ご不明点はお気軽に当社営業へご相談ください!



